Циклоны ЦОК с обратным конусом для очистки воздуха от металлической стружки и пыли с повышенными абразивными свойствами при металлообработке
Купить или заказать расчёт можно через сайт:

Циклоны ЦОК, серия 5.904-30. Описание
Циклоны ЦОК предназначены для санитарной очистки вентиляционных выбросов от металлической стружки и пыли с повышенными абразивными свойствами при металлообработке.
Применяются данные изделия в литейных, термических цехах, в цехах механической обработки металла, в заточных и обдирочных установках и других подобных производствах.
Циклоны изготавливаются в климатическом исполнении «УХЛ» с категорией размещения 1 и 4 по ГОСТ 15150-69, сейсмичность циклонов не регламентируется, категория по взрывной, взрывопожарной и пожарной опасности — Д по СНиП 2.09.02-85.
Циклон ЦОК состоит из корпуса с входным патрубком, внутреннего конуса и выхлопной трубы. Также, по заявке потребителя, в состав пылеуловителя может входить пылесборник, в таком случае в марке появляется буква "П" в конце обозначения Циклона.
Пылесборник изготавливается в виде бункера или выдвижного ящика. Короткая часть цилиндрического корпуса переходит в расширяющийся книзу конус, непосредственно присоединяющийся к пылеприёмному бункеру.
На фото справа выше - Циклон модели ЦОК-10П с пылесборником в виде выдвижного ящика на нашем производственном складе.
В случае установки пылеуловителя Циклон на кронштейне, его бункер имеет коническую форму. Такой бункер можно увидеть на фото снизу слева, за Циклоном. К пылевыпускному отверстию бункера может подсоединяться затвор типа «мигалки» или шиберный затвор. Рекомендуется установка на кронштейне циклона диаметром не более 300 мм, то есть не более типоразмера ЦОК-5.
Для повышения эффективности пылеосаждения и предохранения осевшей пыли от взмучивания и уноса из бункера в нижней части циклона устанавливается внутренний конус.
Угол при основании внутреннего конуса зависит от рода и характера осаждаемой пыли, но наиболее распространённый угол для сухой неслипающейся пыли — 45°.


На фото слева выше - Циклон ЦОК-5 левого исполнения и пылесборник в виде конического бункера, лежащий за ним, на нашем производственном складе, а справа - наша самая маленькая модель: Циклон ЦОК-1П правого исполнения с выдвижным ящиком.
Кроме того, возможно по заявке изготовление Циклонов ЦОК с бункером на металлической раме, в таком случае в марке появляется буква "С" в конце обозначения Циклона.
Ещё раз обратим внимание: пылесборник или бункер на металлической раме изготавливаются по заявке. По умолчанию все модели Циклонов ЦОК изготавливаются без пылесборника и бункера.
Очистка воздуха от пыли осуществляется под действием центробежных сил.
Очищенный воздух отводится через круглую выхлопную трубу в верхней части Циклона, а пыль - через кольцевую щель между нижней частью расширяющегося конуса корпуса и внутренним конусом попадает в бункер или пылесборник с выдвижным ящиком.
Освободившийся от пыли воздух возвращается обратно в корпус Циклона через центральное отверстие внутреннего конуса и выходит наверх.
Во избежание ускоренного износа вентилятора, Циклоны ЦОК рекомендуется устанавливать перед пылевым вентилятором. Но можно делать и наоборот, как это показано на макете на самой нижней фотографии этой страницы.
Циклоны включают одиннадцать типоразмеров, отличающихся между собой пропускной способностью по воздуху от 130 до 7000 м3/ч.
Технические характеристики Циклонов ЦОК с обратным конусом
Ниже приведены технические характеристики пылеуловителей Циклон ЦОК.
| Наименование |
Внутренний диаметр D Циклона, мм |
Скорость во входном патрубке, м/с |
Общий вес установки, кг |
|||
|---|---|---|---|---|---|---|
| 14 | 15 | 16 | с бункером |
с выдвижным ящиком |
||
| Пропускная способность по воздуху, м3/ч | ||||||
| Циклон ЦОК 1 | 100 | 130 | 140 | 150 | 17,46 | 20,57 |
| Циклон ЦОК 2 | 150 | 290 | 302 | 314 | 30,55 | 35,39 |
| Циклон ЦОК З | 200 | 525 | 563 | 600 | 46,70 | 54,19 |
| Циклон ЦОК 4 | 250 | 880 | 800 | 920 | 84,75 | 73,24 |
| Циклон ЦОК 5 | 300 | 1170 | 1250 | 1330 | 124,58 | 97,06 |
| Циклон ЦОК 6 | 370 | 1790 | 1895 | 2000 | 169,42 | 135,90 |
| Циклон ЦОК 7 | 465 | 2620 | 2810 | 3000 | 230,61 | 191,58 |
| Циклон ЦОК 8 | 525 | 3500 | 3750 | 4000 | 438,69 | 244,84 |
| Циклон ЦОК 9 | 585 | 4375 | 4687 | 5000 | 528,45 | 296,14 |
| Циклон ЦОК 10 | 645 | 5250 | 5625 | 6000 | 588,74 | 351,94 |
| Циклон ЦОК 11 | 696 | 6130 | 6585 | 7000 | 654,10 | 401,62 |
Габаритные размеры пылеуловителей Циклон ЦОК, ЦОК-П с выдвижным ящиком, ЦОК-С с бункером на раме
Ниже представлены фотография, а также габаритные и присоединительные размеры пылеуловителей Циклон ЦОК, изготавливаемых по умолчанию.


| Наименование | Размеры, мм | |||||||||
|---|---|---|---|---|---|---|---|---|---|---|
| D | d | D1 | H | Hц | Hкон. | aвх | bвх | L | B | |
| ЦОК 1 | 100 | 50 | 160 | 520 | 200 | 300 | 100 | 25 | 60 | 260 |
| ЦОК 2 | 150 | 75 | 240 | 780 | 300 | 450 | 150 | 37,5 | 90 | 340 |
| ЦОК 3 | 200 | 100 | 320 | 1040 | 400 | 600 | 200 | 50 | 120 | 420 |
| ЦОК 4 | 250 | 125 | 400 | 1300 | 500 | 750 | 250 | 62,5 | 150 | 500 |
| ЦОК 5 | 300 | 150 | 480 | 1560 | 600 | 900 | 300 | 75 | 180 | 580 |
| ЦОК 6 | 370 | 185 | 592 | 1924 | 740 | 1110 | 370 | 92,5 | 222 | 690 |
| ЦОК 7 | 455 | 230 | 728 | 2366 | 910 | 1365 | 455 | 114 | 273 | 830 |
| ЦОК 8 | 525 | 265 | 840 | 2730 | 1050 | 1575 | 525 | 131 | 315 | 940 |
| ЦОК 9 | 585 | 295 | 936 | 3042 | 1170 | 1755 | 585 | 146 | 351 | 1040 |
| ЦОК 10 | 645 | 325 | 1032 | 3354 | 1290 | 1935 | 645 | 161 | 387 | 1135 |
| ЦОК 11 | 696 | 350 | 1115 | 3620 | 1392 | 2088 | 696 | 174 | 418 | 1215 |
Ниже представлены фотография, а также габаритные и присоединительные размеры пылеуловителей Циклон ЦОК-П с выдвижным ящиком для установки на полу, изготавливаемых по заявке.


| Модель Циклона | Размеры, мм | ||||||
| D | А | Б | Г | Е | Н | Н1 | |
| ЦОК-1П | 100 | 360 | 370 | 75 | 67 | 1050 | 930 |
| ЦОК-2П | 150 | 450 | 460 | 110 | 100 | 1300 | 1155 |
| ЦОК-3П | 200 | 540 | 550 | 150 | 130 | 1550 | 1380 |
| ЦОК-4П | 250 | 660 | 670 | 185 | 162 | 1800 | 1605 |
| ЦОК-5П | 300 | 740 | 750 | 225 | 193 | 2050 | 1830 |
| ЦОК-6П | 370 | 860 | 870 | 278 | 237 | 2400 | 2145 |
| ЦОК-7П | 455 | 1060 | 1070 | 340 | 292 | 2830 | 2530 |
| ЦОК-8П | 525 | 1170 | 1180 | 394 | 335 | 3180 | 2850 |
| ЦОК-9П | 585 | 1270 | 1280 | 440 | 373 | 3480 | 3120 |
| ЦОК-10П | 645 | 1370 | 1380 | 484 | 410 | 3780 | 3390 |
| ЦОК-11П | 695 | 1450 | 1460 | 520 | 442 | 4030 | 3610 |
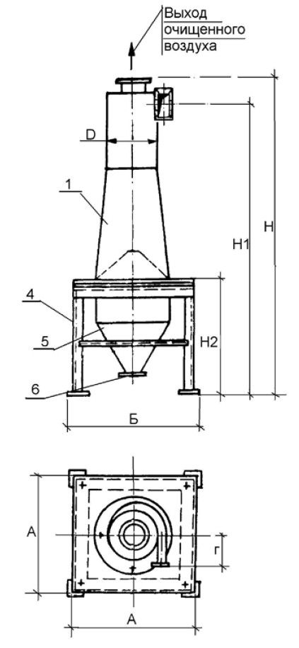
Ниже представлены габаритные и присоединительные размеры пылеуловителей Циклон ЦОК-С с бункером на металлической раме для установки на полу, изготавливаемых по заявке.

1. Циклон.
4. Рама.
5. Бункер.
6. Пылевыпускное отвестие.
| Модель Циклона | Размеры, мм | |||||||
| D | А | Б | Г | Е | Н | Н1 | Н2 | |
| ЦОК-1С | 100 | 300 | 316 | 75 | 67 | 1325 | 1205 | 760 |
| ЦОК-2С | 150 | 380 | 396 | 110 | 100 | 1715 | 1570 | 900 |
| ЦОК-3С | 200 | 470 | 486 | 150 | 130 | 2165 | 1992 | 1100 |
| ЦОК-4С | 250 | 540 | 556 | 185 | 162 | 2565 | 2370 | 1250 |
| ЦОК-5С | 300 | 620 | 636 | 225 | 193 | 2965 | 2745 | 1400 |
| ЦОК-6С | 370 | 780 | 744 | 278 | 237 | 3615 | 3360 | 1700 |
| ЦОК-7С | 455 | 920 | 844 | 340 | 292 | 4240 | 3940 | 1900 |
| ЦОК-8С | 525 | 1040 | 1004 | 394 | 335 | 4790 | 4460 | 2100 |
| ЦОК-9С | 585 | 1140 | 1104 | 440 | 373 | 5190 | 4830 | 2200 |
| ЦОК-10С | 645 | 1240 | 1204 | 484 | 410 | 5690 | 5300 | 2400 |
| ЦОК-11С | 695 | 1340 | 1304 | 520 | 442 | 6040 | 5620 | 2500 |
Паспорт. Декларация о соответствии. Опросный лист
Паспорт на пылеуловители Циклон типа ЦОК.
Пройдя по этой ссылке, Вы сможете ознакомиться с паспортом на промышленные пылеуловители Циклон типа ЦОК.
Декларация соответствия на пылеуловители Циклон типа ЦОК.
Пройдя по этой ссылке, Вы сможете ознакомиться с Декларацией о соответствии на пылеуловители Циклон типа ЦОК.
Подбор промышленного пылеуловителя ЦИКЛОН ЦОК.
Если Вы затрудняетесь с выбором, или у Вас возникли сомнения в правильности выбора, - обращайтесь с письменной заявкой в отдел сбыта по многоканальным телефонам-факсам: (495) 780-43-94, 780-43-95, или пишите нам на наш адрес электронной почты: evromash@evromash.ru.
Также Вы можете заполнить опросный лист на пылеуловители и выслать его нам для подбора.
Мы поможем Вам сделать правильный выбор и оптимизировать Ваши затраты!
На фото справа - специсполнение: Циклон ЦОК-7П с выдвижным ящиком на колёсной тележке на нашем московском складе.
Ниже представлен макет того, как работает пылеуловитель Циклон с пылевым вентилятором. На макете показаны два рабочих места, пылевой вентилятор, Циклон с воздухосборником (зонтом) и пирамидальным бункером. Вентилятор создаёт давление в системе, благодаря чему воздух вместе с опилками и стружкой забирается от рабочих мест, выводится по воздуховодам через вентилятор в Циклон, где очищается от стружки и опилок, затем очищенный воздух отправлется на улицу.

- Циклоны НИИОГаз типа ЦН-11 для отделения от газообразной среды частиц сухой пыли, образующейся в помольных или дробильных установках, а также летучей золы
- Циклоны НИИОГаз типа ЦН-15 для сухой очистки газов и аспирационного воздуха в технологических процессах
- Циклоны НИИОГаз ЦН-24 с высокими пропускными способностями для очистки воздуха от пыли и мелких частиц в пищевой промышленности, а также в сельском хозяйстве
- Циклоны ГИПРОДРЕВПРОМА типа Ц для механического улавливания древесных отходов (стружки, опилок, пыли) в системе пневмотранспорта
- Циклоны типа УЦ-38 для очистки воздуха на деревообрабатывающих предприятиях и в сельском хозяйстве
- Циклоны ОЭКДМ типа К для систем пневмотранспорта измельченной древесины
- Циклоны типа СИОТ-М, СИОТ-М1 для грубой и средней очистки газов от сухой неслипающейся и неабразивной пыли
- Циклоны ЦОК с обратным конусом для очистки воздуха от металлической стружки и пыли с повышенными абразивными свойствами при металлообработке








